Kraftstoffanlage
Kraftstoffanlage Aufbau
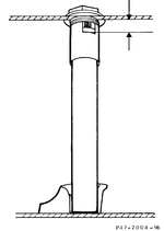
- Kraftstoffbehälter aus Stahlblech
- Füllmenge ca.80 Liter
- Kraftstoffverdunstungsanlage, Fahrzeuge mit Motor 104 und Motor 119 mit zusätzlichem Umschaltventil-Regenerierung.
- Geber Kraftstoffanzeige teleskopartig ausgeführt und wird mittels Federdruck auf maximale Länge gebracht.
- Im unteren Bereich des Kraftstoffbehälters ist der Geber durch eine konische Hülse geführt und steht im eingebauten Zustand unten auf.

Unrunder Leerlauf durch Kraftstoffverdunstungsanlage in Verbindung mit gestörtem Lambdaregelkreis
von Frank Günnel
Vorwort
Zum Thema unrunder Leerlauf am Motor M119.972 soll ergänzend zu den bereits typischen bekannten Ursachen wie Motorkabelbaum, Zündverteiler, Abgasrückführung sowie Saugrohrdichtungen (Garage Ausgabe 4/2017 Seite 11) eine weitere Ursache beschrieben werden. Die Kraftstoffverdunstungsanlage in Verbindung mit gestörtem Lambdaregelkreis.
allgemeines zur Kraftstoffanlage

Funktion der Kraftstoffverdunstungsanlage
Um Umweltauflagen zu realisieren, müssen Fahrzeuge mit Verbrennungsmotoren eine Kraftstoffverdunstungsanlage besitzen, die das Entweichen von Kraftstoffgasen in die Umwelt verhindert.
Die entstehenden Kraftstoffdämpfe werden in einem Aktivkohle Filter zwischen gespeichert und im Fahrbetrieb unter gewissen Voraussetzungen der Verbren-nugsmaschine wieder zugeführt, wobei eine Regeneration des Filters entsteht.

Kraftstoffverdunstungsanlage des SL 500-R129, WDB 1290671F100837 mit Motor 119972 12 010116
Hauptkomponenten
Tanklüftungsventil A 124 476 04 32
Das Tanklüftungsventil befindet sich an der hinteren Fahrzeugunterseite oberhalb des Flansches linke Antriebswelle zum Hinterachsgetriebe. (schwer zugänglich)

In diesem Ventil befindet sich eine Membran, die gegen eine Druckfeder arbeitet. Diese wird vom Über- bzw. Unterdruck betätigt und bewirkt somit das Öffnen bzw. Schließen des Ventils.
Aktivkohlefilter A 129 470 12 59
Die Benzindämpfe des Kraftstofftanks werden einem sogenannten Aktivkohlefilter zugeführt. Dieser befindet sich hinter der linken vorderen Radhausverkleidung und wird mittels Metallschiene dort aufgeklipst. Zur Montage muss diese Verkleidung oder auch Innenkotflügel genannt, ausgebaut werden.
Der Aktivkohlefilter hat folgende Anschlüsse:
- zum Tanklüftungsventil:Parallel zu den Bremsleitungen am linken Fahrzeugboden ist diese Verbindungsleitung als Metallrohr verlegt.
- zum Regenerationsumschaltventil:Die Verbindung erfolgt durch den linken Innenkotflügel hinter der Radhausverkleidung mit einer 8mm Kunststoffleitung.
- zur Lüftung: Vom Innenraum des linken vorderen Längsträgers wird der Aktivkohlefilter gelüftet, bzw.regeneriert.

Umschaltventil Regenerierung A 000 470 22 93
Das elektromagnetische Umschaltventil Regenerierung ist im Motorraum links unter der schwarzen Plastikabdeckung neben dem Zündsteuergerät mit einem Gummiring schwingend befestigt. Modelle mit dem Motor M103 haben dagegen das pneumatische Regenerationsventil A 107 470 08 93.

Der elektrische Anschluss erfolgt durch eine Steckverbindung. Die Verbindun-genzum Saugrohr des Motors bzw. zum Kohleaktivfilter werden mit 8mm Kunststoffleitungen realisiert.
Die Durchflussrichtung ist Mittels Pfeil zur Motorseite hin gekennzeichnet ▶ Mot.
Kosten der Hauptkomponenten
- Tanklüftungsventil - 21,21 €
- Kohleaktivfilter - 304,78 €
- Umschaltventil Regenerierung - 162,79 €
Preise ohne MwSt.
Wirkungsweise
Die Kraftstofftanklüftung erfolgt über ein Zentralrohr mit Unterbrechergefäßen an den Enden. Die Unterbrechergefäße verhindern das Entweichen von Kraftstoff in die Lüftungsleitung und somit zum Tanklüftungsventil (51) bzw. dem Kohleaktivfilter (52).
Der Kraftstofftank wird über dieses Lüftungsventil und dem Kohleaktivfilter aus dem linken vorderen Längsträger durch die bereits beschriebene Leitungsführung be- und entlüftet.
Die Tankentlüftung soll bei einem Überdruck bzw. einen Unterdruck von 30 mbar erfolgen.
Steigt der Druck auf über 100-300 mbar aufgrund von undurchlässigen Lüftungsleitungen, wird über den Tankverschlussdeckel entlüftet.
Die im Kohleaktivfilter gespeicherten Kraftstoffdämpfe werden bei einer Kühlmitteltemperatur >70 Grad Celsius über das Umschaltventil Regenerierung (Y58/1) abgesaugt und dem Motor über das Saugrohr (1) durch den dort vorhandenen Unterdruck zur Verbrennung zugeführt.
Befindet sich der Motor im Schiebebetrieb ist diese Funktion deaktiviert.

Zur Regelung der Regeneriermenge und zur Funktionssteuerung wird das Regenerationsumschaltventil elektrisch vom Motorsteuergerät LH (N3/1) angesteuert. Die Ansteuerung erfolgt durch eine Taktung von 7,5 Hz. Durch das ständige Öffnen und Schließen des Ventils in verschiedenen langen Aus- und Einschaltzeiten wird die Regeneriermenge bestimmt.
Abhängig vom Saugrohrunterdruck wird der Querschnitt im Umschaltventil Regenerierung durch die membrangeführte Ventilnadel verändert.

Weitere Informationen zum Thema „Kraftstoffverdunstungsanlage prüfen“ siehe Diagnosehandbuch Motor, Band 2 Benzineinspritzanlage LH.
Fehlerbeschreibung unrunder Leerlauf
Bei der im Punkt 3.2 beschriebene Wirkungsweise kann durch Undichtigkeiten am Regerationsumschaltventil (Y58/1-Ventilplatte schließt nicht mehr richtig bzw. Ventilsitz beschädigt) „falsche Luft“, die nicht vom Luftmassenmesser LH erfasst wird, in den Ansaugtrakt des Motors gelangen. Da dann nicht nur in den getakteten Einschaltzeiten, sondern auch in den Ausschaltzeiten das Ventil mit Kraftstoffgasen durchströmt wird.
Hierdurch wird im Leerlauf, bei sehr kleinem Luftdurchsatz im Luftmassenmesser (Drosselklappe kaum geöffnet), und der daraus resultierenden geringen Kraftstoff-Luftgemisch-Menge im Saugrohr, das Mischungsverhältnis Kraftstoff-Luft durch die ungemessene Zusatzluft beeinflusst (Gemisch zu mager).
Die Lambdasonde im Abgasstrom signalisiert hierdurch dem Motorsteuergerät LH einen erhöhten Sauerstoffgehalt im Abgas. Dieses versucht nun durch Erhöhung der Einspritzmenge diesen Zustand zu kompensieren. Hierdurch kommt es dann zu einer kurzzeitigen „Überfettung“ des Kraftstoffluftgemisches, wobei die Leerlaufdrehzahl schwankt.
Im Voll- oder auch im Teillastbereich (Drosselklappe mehr geöffnet), spielt diese geringe ungemessene Zusatzluftmenge beim Lambda Regelbetrieb keine Rolle, da sich mehr Kraftstoff Luftgemisch im Saugrohr befindet.
Fehlerbeseitigung
Der Fehler kann durch Austausch des Regenerationsumschaltventils (Y58/1) beseitigt werden. Hierbei ist jedoch zu beachten, dass die beschriebenen Undichtigkeiten an diesem Ventil meist durch die Alterung des Aktivkohlefilters (52) verursacht werden.
Im Inneren der Filterpatrone sind an beiden Enden jeweils Lochbleche mit Schaumstoffauflage. Dieser Schaumstoff, der zur Abdichtung des Kohleaktivgranulates dient, löst sich auf. Sodann können Schaumstoff- und Kohlepartikel angesaugt werden, die zur Beschädigung des Regenerationsumschaltventils führen. Deshalb ist es empfehlenswert, diesen Filter ebenfalls zu erneuern. Auch das Tanklüftungsventil (51) sollte bei der Reparatur mit ersetzt werden.
(Verklebungen, Alterung der Gummimembran) Außerdem muss das gesamte zur Kraftstoffverdunstungsanlage beschriebene Leitungssystem auf Durchlässigkeit sowie Dichtigkeit geprüft werden.
Kleine Schadensberichte - Motor springt schlecht an
von Text: Werner Siebert (RT Lüneburg) (CR35/S24)
Problem:
Motor springt in noch warmem Zustand nach Standzeit von ein bis zwei Stunden nur unwillig an. Da der Wagen auch mit Flüssiggasanlage ausgestattet ist, wurde das Problem in Kombination damit vermutet. War aber nicht so, da auch im Benzinmodus dasselbe Problem auftrat. Im Frühjahr 2020 startete der Motor dann überhaupt nicht mehr mit Benzin. Glücklicherweise hat der Wagen auch eine Standheizung. Nach Anwärmen des Motors sprang der Motor nach circa fünf Sekunden Startvorgang problemlos unter Gasbetrieb an. Ich konnte daher selbst zur Werkstatt fahren. Hinweis: Sobald man die Gaszufuhr abstellte, ging der Motor aus.
Lösung:
Die Werkstatt wechselte die Benzinpumpe mit
Filter aus. Jetzt sind alle Probleme behoben.
Kosten:
- Benzinpumpe 183,70 Euro
- Benzinfilter 37,50 Euro
- Arbeitskosten 40,00 Euro
Defektes Relais für Kraftstoffpumpe
von Udo Schultheiß und Karl Kübler (CR32/S72)
Anlässlich der Messe in Friedrichshafen hatte ich Karl Kübler ein paar Teile(Sensoren für Nocken- und Kurbelwelle)gegeben, die bei meinem SL 320 ausgewechselt wurden.
Die Story: Vor circa fünf bis sechs Jahren blieb mein R129 immer wieder einmal ohne Vorwarnung einfach stehen. Da ging alles aus. Am schlimmsten war es vor ein paar Jahren auf dem Weg nach Friedrichshafen zur Messe. Bei circa 220km/h ging der Motor plötzlich aus. Ich konnte gerade noch - ohne Servolenk- und Bremsunterstützung- auf den rechten Standstreifen fahren. Nach ein paar Minuten ging der Motor wieder an. Ausgewechselt wurden nacheinander die Kurbel- und Nockenwellensensoren. Selbst das Zündschloss wurde aus- und eingebaut. Werkstattkosten insgesamt über 1000 Euro. Und das in seriösen Betrieben.
Als der R129 mal wieder regungslos in meiner Garage stand, kam ein BOSCH-Mann und ich erzählte ihm, dass das Auto wohl keinen Sprit bekommt. Da griff er im Kofferraum rechts und brachte das Benzinpumpenrelais heraus. Das war kaputt und kostete circa 25 Euro.
Kleine Ursache, sehr große Wirkung.
Von Karl hörte ich, dass das Problem in anderen Fällen auch schon mal aufgetreten sei, zum Beispiel, wenn der kleine Kabelschuh an der Batterie-Plusklemme nicht sauber angeschraubt ist und sich lösen kann. Dann wird der Stromkreis zwischen Batterie und Relais unterbrochen, das heißt, in Richtung Motor wird kein Benzin von der Kraftstoffpumpe gefördert. In einem Fall trat dies bei Kurvenfahrten auf, als sich der kleine Kabelschuh durch die Fliehkraft von der Batterieklemme „entfernte“. Diese unglaubliche Entdeckung machte Helmut Kisch durch Detektivarbeit bei einem Workshop in Oppenweiler.
|
|
Defekter Aktivkohlebehälter - eine Zeitbombe
von Dr. Wolf von Noorden (CR29/S83)
Zeitbombe
Wer außer unseren Motor-Technikern hat schon von dem Ersatzteil Nr. MA129 470 12 59 gehört? Es handelt sich um den Aktivkohlefilter (AKF), ein knapp 30 Zentimeter langes und von circa sieben auf acht Zentimeter sich verdickendes Plastikrohr, das beim R129 068 SL500 Baujahr 2001 hinter dem vorderen linken Radkasten eingebaut ist. Seine Aufgabe ist es, den Frischluftnachschub zum Benzintank zu filtern und zu reinigen. Der AKF ist in keinem Mercedes-Benz-Serviceheft zum R129 zu finden, denn er gilt für Daimler als „ewig“ haltbar und pflegelos, also darauf angelegt, die aktive Lebenszeit des R129 zu überleben. So die Theorie und wohl auch in den meisten Fällen die Praxis. Aber wehe, wenn die Praxis der Theorie einen Streich spielt und sie damit widerlegt:
Anfang Dezember 2016 bei Kilometerstand 76794 blieb mein SL500 in dem kleinen Bergdorf Staufenberg bei Gernsbach nahe Baden-Baden an einer der engsten Stellen bergauf - und natürlich an einem Freitagnachmittag - nach Aufleuchten der Motorwarnleuchte plötzlich stehen. Der Tankanzeiger verwies auf einen knapp halb vollen Tank. Der mehrfach betätigte Anlasser funktionierte fehlerfrei, aber die Maschine sprang nicht mehr an. Ich ließ das Fahrzeug zur nächsten Mercedes-Benz-Werkstatt, der früheren Daimler Werksniederlassung, jetzt Firma Wackenhut, abschleppen. Es wurde lange nach dem Fehler gesucht. Der Verdacht fiel zunächst auf die Benzinpumpe. Es wurde eine neue bestellt. Diese funktionierte ebenso gut wie die alte, die alsdann wieder eingebaut wurde. Erst nach einigen Tagen und vielen Tests fiel und bestätigte sich der Verdacht auf ein Versagen des „ewig“ lebenden AKF. Die Folgen von dessen Versagen, das der Fahrer nicht bemerken kann, sind fatal: weil keine Luft in den Benzintank nachfließt, schafft die starke Benzinpumpe in diesem ein zunehmendes Vakuum, welches das Tankgehäuse von innen zusammenzieht, siehe Foto. Da es sich dabei nach innen verwölbt, bleibt der Schwimmer des Tankanzeigers hängen und zeigt weiter einen gefüllten Tank an.
Bis alle geschädigten Teile der Kraftstoffanlage beschafft und eingebaut und alle Tests durchgeführt waren, vergingen zehn Tage, und ich erhielt eine gewaltige Rechnung: EUR 1.111,43entfielen nach Mercedes-Benz-Clubnachlass von 10 Prozent auf Ersatzteile, weitere EUR 1.327,19entfielen auf die umfangreiche Arbeitszeit, zu alledem kamen EUR 463,34 Mehrwertsteuer, Gesamtbetrag EUR 2.901,96.

Im Hinblick darauf, dass es sich bei dem AKF nicht um ein servicepflichtiges Verschleißteil handelt, hielt ich es für angemessen, die Mercedes-Benz-Werkstatt zu einem Kulanzantrag anzuhalten. Dies geschah auch. Der Antrag wurde jedoch von Daimler abgelehnt. Daraufhin richtete ich ein freundliches Schreiben an den Daimler Vorstandsvorsitzenden, Dr. Dieter Zetsche. Darin wies ich vor allem darauf hin, dass der AKF keinem Service und keiner Prüfung unterliege und die Kraftstoffanlage so konstruiert sei, dass der Fahrer das Versagen des AKF erst bemerken könne, nachdem zuvor ein erheblicher Sachschaden daran eingetreten sei. Natürlich erwähnte ich auch die Clubzugehörigkeit dieses SL, seinen Ausstellungszustand und die geringe Fahrleistung. Nach einer Woche teilte mir eine sogenannte Kundenbetreuerin des Büros Zetsche mit, wie sehr bedauerlich die mir widerfahrene Unbill sei, dass eine Übernahme der oder ein Beitrag zu den Kosten der Daimler-Werkstatt jedoch nicht möglich sei, weil mein Fahrzeug „schon zu alt“ sei.
Für Euch, meine lieben Freunde im Club, bieten sich nun zwei Möglichkeiten: Entweder, Ihr fahrt weiter mit einer Zeitbombe im Motorenraum und lasst es darauf ankommen oder Ihr lasst den AKF (Ersatzteilpreis 220,32 € ohne Clubnachlass, Mehrwertsteuer und Einbaukosten) erneuern und verlasst Euch auf Garantie und Kulanz. Die Wahrscheinlichkeit, dass der AKF versagt, ist in der Tat sehr gering. Euch allen von Herzen mehr Glück!
E10-Verträglichkeit im 300 SL
von Michael Rapp (CR18/S67)
- Ein Selbstversuch -
Gleich im Vorfeld möchte ich erwähnen, dass am Ende dieses Artikels keine klare Aussage zur Verträglichkeit von alkoholhaltigen Kraftstoffen stehen wird.
Dies liegt zum Einen daran, dass einem alle Ansprechpartner aus rechtlichen Gründen davon abraten und zum Anderen an der Komplexität der Sachlage, welche von Fahrzeug zu Fahrzeug und je nach Situation zu unterschiedlichen Ergebnissen führen kann. Sie können sich aber hoffentlich selbst ein besseres Meinungsbild verschaffen, als es über die öffentlichen Aussagen bisher möglich war.
Während der Recherche musste ich feststellen, dass über 90% aller Informationen zu E10 kaum geeignet sind, wirkliches Verständnis zu erzeugen.
Beziehen möchte ich mich daher nur auf die offizielle Herstelleraussage von Mercedes-Benz (welche allein betrachtet leider die Erklärungen vermissen lässt) und zweitens einen sehr informativen Artikel aus der Zeitschrift „Oldtimer Markt“ von einem Kraftstoffexperten, den sie komplett im Heft abgedruckt wiederfinden.
Ergänzt habe ich das Ganze noch um einen Selbstversuch im 300 SL.
Laut Mercedes-Benz sind Modelle der ersten Generation Direkteinspritzung (C 200 CGI BR 203 und CLK 200 CGI BR 209) der Jahre 2001 – 2005, sowie Modelle,
welche werkseitig ohne geregelten 3-Wege Katalysator produziert oder mit Vergaser ausgerüstet wurden, nicht E10 tauglich! Dies umfasst damit auch alle Oldtimerfahrzeuge.
Erst die Aussagen, welche Wolfgang Dörmer, Obmann im Fachausschuss für die Normung von Kraftstoffen, im Interview der „Oldtimer-Markt“ gegeben hat, liefern die Erklärungen für einen Teil dieser Festlegungen:

- 1. Frühe Direkteinspritzmotoren hatten Aluminiumbestandteile im Hochdruckbereich des Kraftstoffsystems. Bei den vorherrschenden konstant hohen Drücken und Temperaturen können Korrosionsprozesse zu Schäden und Undichtheiten führen.
Auch der 300 SL ist ja ein Direkteinspritzer, aber die Drücke (ca. 48 bar) sind deutlich geringer (zu gering) und auch die sonstigen Randbedingungen liefern keinen Grund anzunehmen, dass obige Ausschlussbedingung hier eine Rolle spielt.
- 2. Mercedes unterscheidet zwischen Fahrzeugen mit Katalysator (tauglich) und Fahrzeugen ohne Katalysator bzw. mit Vergaser. Dies macht nur dann Sinn, wenn die Art der Gemischbildung hier die entscheidende Rolle spielt. Bei geregeltem Katalysator wird immer ein Lambdawert von ca.1 eingestellt. Da Alkohol ca. 40% weniger Brennwert hat als Benzin, kann ein Fahrzeug mit geregeltem Katalysator dies ausgleichen, andere Fahrzeuge aber nicht! Abmagerung des Gemisches, schlechter Motorlauf und Überhitzung können die Folge sein.
Diese Annahme wollte ich durch einen Selbstversuch stützen. Vor der Überhitzung machte ich mir dabei wenig Sorgen, da ein Direkteinspritzer gegenüber Vergasermotoren über eine gute „Innenkühlung“ verfügt.
Die Betankung mit E10 war im Fahrverhalten noch nicht spürbar, was vielleicht daran liegt, dass mein 300 SL etwas fett eingestellt ist. Auf der Fahrt zum Jahrestreffen nach Würzburg hatte ich daher die „Schnapsidee“ an einer Tankstelle ca. 40 Liter E85 nachzutanken. E85 enthält 85% Alkohol, wird von Flexibelfuel- Fahrzeugen vertragen und an wenigen Tankstellen in Deutschland angeboten.
Im Tank ergab sich damit eine E40- Mischung und die Folge, dass der 300 SL im Leerlauf lautstark gepatscht hat und eine sehr schlechte Gasannahme zu verzeichnen war. Die Ausfahrten im Teillastbereich gingen einigermaßen und durch das Nachtanken bin ich zwischenzeitlich bei E15 angelangt. Damit ist die Gasannahme immer noch leicht verschlechtert und ein Leistungsmangel bei hohen Drehzahlen feststellbar.
Fazit:
Ich bin froh, wenn ich beim nächsten Nachtanken wieder einen Alkoholgehalt unter 10 % erreiche! Bei höherem Alkoholgehalt wäre eine andere Gemischeinstellung erforderlich. Bei mager eingestellten 300 SL- Fahrzeugen kann auch E10 aus meiner Sicht bereits zu Leistungsmangel und schlechterer Gasannahme führen.
Für grundsätzlich höhere Korrosionssorgen oder mögliche Schäden durch E10 finden sich keine belegten Anhaltspunkte (siehe hierzu Artikel aus Oldtimer-Markt). E10 ist laut Expertenaussage nicht aggressiver als E5.



